Black Women Inventors
It’s been an amazing journey for me to discover how many wonderful things Black Women have done in America. I hope you have enjoyed the stories we have posted so far of black women in education both as scholars and educators, black women artists, and black women scientists. My intent with these posts is to honor these women as well as to raise awareness of their abilities and contributions to our society.
I think that the stories this week of Black Women Inventors may surprise you. I have to admit that I am just as guilty as most people are of assuming that mechanical innovations were mostly done by men. I was delighted to see how many devices were developed by creative black women to make everyone’s work easier.
Since this series is featuring Black Women Firsts, we will also tell the story of the first black woman to receive a U.S. Patent. There is some dispute about who the first patent went to, but that will be part of the interest in this post.
Judy W. Reed (1826-1905) – Dough Kneader and Roller
Little is known about Judy Woodford Reed. Her name appears in the 1870 Federal Census as a seamstress living near Charlottesville, Virginia. She and her husband Allen, a gardener, had five children. We don’t know their ages, but 10 years later Judy and Allen were still living in Virginia and this time a grandson was recorded.
Allen must have died sometime between 1880 and 1885 because Judy was referring to herself as the “widow” of Allen Reed when she moved to Washington D.C. She was residing there with her children when she received her patent, No. 305,474 for a “Dough Kneader and Roller” on September 23, 1884. Her machine, an improvement on existing rollers, allowed the dough to mix more evenly. The dough was also covered which protected the it from dust and other particles in the air and kept it from drying out.

Since she signed her patent with an “X” it is probable that she could not read or write or even sign her name. Since the patent application did not require the person to state their gender or race it took a long time for researchers to determine how many African American women received patents. Thankfully the research has been done and we can honor Judy W. Reed for her invention, even though we don’t know anything else about her after that.[1]
Martha Jones (First Patent?) – Corn Husker, Sheller
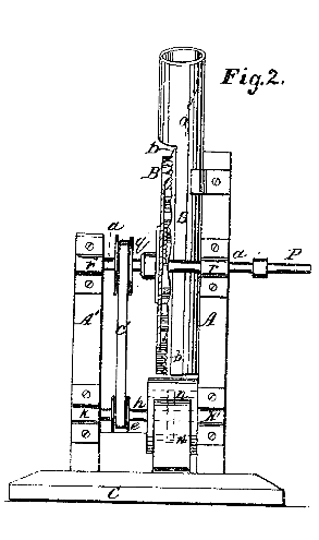
According to Rebecca Tapscott in another article on Black women inventors, Martha Jones may have been the first black woman to receive a patent. Martha Jones was granted patent No. 77,494 for an “Improvement to the Corn Husker, Sheller” in 1868.[2] Martha Jones could see the value in using the whole ear of corn. Once the grain was removed from the husks, the husks could then be used as a substitute for hay or straw and fed to horses and cattle. Furthermore, according to Martha, the husks could be used for bedding for animals or in mattresses.
Here is Martha’s description from her Patent followed by a picture:
The operation of the machine is as follows: The ears of corn are introduced at the upper end of the spout, and the ears are pressed by the spring against the face of the wheel, and the cars of corn receive a rotary motion, and are cut somewhat by the projections 11 b. The ears, by reason of their gravity, are then operated upon by the spirally-arranged knives cc, which thoroughly husk the cars, and cut up the husks; the projections d on the wheel then shell the ears, the corn falling upon the inclined board m. The blast from the fan-wheel drives the lighter husks away from the corn.[3]


Sarah Goode (1855?-1905) – Foldable Bed/Desk
Sarah Elisabeth Jacobs was born in 1855 in Toledo, Ohio. She was the second of the seven children of Oliver and Harriet Jacobs. Olive was a carpenter. The family later moved to Chicago, Illinois where Sarah met and married Archibald Goode. “Archie” built stairs and did upholstery. Sarah and Archie had six children, only three of whom survived to adulthood.
Sarah opened a furniture store. At this time there was a movement in the population to big cities where people would live in apartments. Sarah noticed that the living space was getting crowded and decided to invent a piece of furniture that would help solve the problem.

Here in her own words from her patent application is what she did:
This invention relates to that class of sectional bedsteads adapted to be folded together when not in use, so as to occupy less space, and made generally to resemble some article of furniture when so folded. The objects of the invention are, first, to provide a folding bed of novel construction, adapted, when folded together, to form a desk suitable for office or general use second; to provide for counterbalancing the weight of the folding sections of the bed, so that they may be easily raised or lowered in folding or unfolding eh bed; third to provide for holding the hinged or folding sections securely in place when the ed is unfolded, and, fourth, to provide and automatic auxiliary support of the bedding at the middle when the bed in unfolded. My invention consists in the arrangement and combinations of parts hereinafter described, and pointed out in the claims.[4]
Sarah’s invention was the precursor to the Murphy bed which was patented in 1900. Her goal was to balance the weight so it could be easily lifted up. She also had to ensure support to the center of the bed when it was unfolded. Perhaps this drawing will help illustrate her genius:

In 2012 the Sarah E. Goode STEM Academy, a science and math focused high school, was opened in her honor on the south side of Chicago. Companies like IBM partner with students enabling them to graduate with industry certificates that are the equivalent of two years of college credit. The school’s vision is to nurture creativity and prepare students for technology jobs in the future.
Other Noteworthy Black Women Inventors
There were so many wonderful innovations by black women that I decided to alert you to some great articles where you can read about their inventions.[5] As I said in the introduction I am really especially intrigued by the scientific and mechanical inventions. In our next post we will look at innovations in the medical field.
Here is a summary of just a couple of inventions by incredible black woman firsts.

Shirley Jackson (born 1946), the first black woman to earn a doctorate from MIT is credited with the research and development that led the way to touch-tone phones, fax machines, fiber optic cables and much more. She was also the first black female president of a major technological institute, and the first black women appointed chair of the U.S. Nuclear Regulatory Commission.

Alice H. Parker is credited with designing a natural gas-fueled furnace. Her design earned a patent in 1919. Her design was a precursor to modern furnaces with thermostats and forced air.

Valerie Thomas, a physicist, inventor, and NASA data analyst is credited with inventing the technology that was the precursor to TV screens and 3D technology.
Home security, rock and roll, a good hairbrush, downtown developer, and 3D movies are just a few of the many things we have to thank creative black women for.
It’s time we honor our black women inventors!
[1] Read this story and others by Rebecca Tapscott (an intellectual property rights attorney working as a staff writer for IPWatchdog) on: https://www.ipwatchdog.com/2021/02/16/signed-x-judy-reed-improved-dough-kneader-roller/id=129915/
[2] This article is at: https://www.ipwatchdog.com/2021/02/01/better-way-husk-martha-jones-first-black-woman-receive-patent/id=129514/
[3] https://patents.google.com/patent/US77494A/en?oq=77494
[4] https://patentimages.storage.googleapis.com/0c/d4/20/e3dfe1d0327e7e/US322177.pdf
[5] 10 Black Women Innovators and the Awesome Things They Brought Us. https://www.yesmagazine.org/health-happiness/2016/03/21/10-black-women-innovators-and-the-awesome-things-they-brought-us